產品概述:
LZB玻璃轉子流量計的主要測量元件為一根垂直安裝的下小上大錐形玻璃管和在內可上下移動的浮子。當流體自下而上經錐形玻璃管時,在浮子上下之間產生壓差,浮子在此差壓作用下上升。當此上升的力、浮子所受的浮力及粘性升力與浮子的重力相等時,浮子處于平衡位置。
因此,流經玻璃轉子流量計的流體流量與浮子上升高度,即與玻璃轉子流量計的流通面積之間存在著一定的比例關系,浮子的位置高度可作為流量量度。
| 外形及安裝尺寸 |

| 
|
原理與結構 流量計主要由一根自下而上擴大的錐形玻管和一只隨流體流量大小上下移動的浮子組成(圖3)。流體自下而上流經錐管時,流體動能在浮子上產生的升力S和流體的浮力A使浮子上升,當升力S與浮力A之和等于浮子自身重力G時,浮子處于平衡,穩定在某一高度位置上,錐管上的刻度指示流體的流量值。 流量計中浮子讀數位置按圖2所示:
| 
|

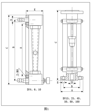
| LZB/LZB-( )F流量計的錐管為光滑內壁管(見圖4),通徑DN15以上的流量計,浮子通過導桿 上下移動,保持穩定;LZJ/LZJ-( )F流量計錐管 內壁有三條導向凸筋,使浮子保持穩定(見圖4)。通徑DN10以下的流量計采用軟管連接,配有 針形流量調節閥;通徑DN15以上流量計采用法蘭連接。 
|
技術參數:
通徑DN (m) | 型 號 | 測量范圍 | 椎管長度(m) | 精度等級 | 允許被測液體狀態 |
水20℃ | 空 氣 20℃,10132SPa | LZB/LZJ | LZB-()F | 溫度(℃) | 壓力 (MPa) |
2 | LZB-2 | 0.4~4ml/min 0.6~6ml/min 1.0~10ml/min 1.6~16ml/min | 6~60ml/min 10~100ml/min 16~160ml/min 25~250ml/min | 160 | 1.5:2.5 | 2.5:4 | -20~+120 | ≤0.4 |
3 | LZB-3 | 2.5~25ml/min 4~40ml/min 6~60ml/min 10~100ml/min | 40~400ml/min 60~600ml/min 100~1000ml/min 160~1600ml/min |
4 | LZB-4 LZB-4F | (1~10)L/h (1.6~16)L/h (2.5~25)L/h | (16~160)L/h (25~250)L/h (40~400)L/h |
6 | LZB-6 LZJ-6 LZJ-6F | (2.5~25)L/h (4~40)L/h (6~60)L/h | (40~400)L/h (60~600)L/h (100~1000)L/h |
10 | LZB-10 LZJ-10 LZJ-10F | (6~60)L/h (10~100)L/h (16~160)L/h | (100~1000)L/h (160~1600)L/h (250~2500)L/h | 2.5 | ≤0.6 |
15 | LZB-15 LZJ-15F | (16~160)L/h (25~250)L/h (40~400)L/h | (0.25~2.5)m?/h (0.4~4)m?/h (0.6~6)m?/h | 350 |
25 | LZB-25 LZJ-25F | (40~400)L/h (60~600)L/h (100~1000)L/h | (1~10)m?/h (1.6~16)m?/h (2.5~25)m?/h |
40 | LZB-40 LZJ-40F | (160~1600)L/h (250~2500)L/h | (4~40)m?/h (6~60)m?/h | 430 |
50 | LZB-50 LZJ-50F | (0.4~4)m?/h (0.6~6)m?/h | (10~100)m?/h (16~160)m?/h | 450 |
80 | LZB-80 LZB-80F | (1~10)m?/h (1.6~16)m?/h | (50~250)m?/h 80~400)m?/h | 500 | ≤0.4 |
100 | LZB-100 LZB-100F | (5~25)m?/h (8~40)m?/h | (120~600)m?/h (200~1000)m?/h |
全不銹鋼型
法蘭、浮子、導桿、支承板及螺栓等均為不銹鋼304(1Cr18Ni9Ti),型號為LZB-( )B。
接液材質如需選用316,則型號為LZB-( )Bo,需定做。
如需不銹鋼內襯PTFE,則型號為LZB-( )BF(或BoF),需定做。
全四氟型
基座、浮子、針閥采用聚四氟乙烯(PTTFE)。支承板、螺絲等采用不銹鋼
接觸測量流體的零部件材質:

玻璃轉子流量計主要用于化工、石油、輕工、醫藥、化肥、化纖、食品、染料、環保及科學研究等各個部門中,用來測量單相非脈動(液體或氣體)流體的流量。防腐蝕型玻璃轉子流量計主要用于有腐蝕性液體、氣體介質流量的檢測,例如強酸(氫氟酸除外)、強堿、氧化劑、強氧化性酸、有機溶劑和其它具有腐蝕性氣體或液體介質的流量檢測。
玻璃轉子流量計的選用:
1. 測量的對象。即測量介質種類、壓力大小、化學性質。如液體介質、氣體介質,對具腐蝕性的介質則應選擇耐腐流量計。
2. 流量計本身性能。上述條件確定后一般講,若價格沒有大的變化,可優先選用針閥置于流量計上部的;有較大流通孔的,是直接流量刻度的;結構簡單的;外部尺寸較小的等等。如是小流量范圍,則可選用球浮子式,因它測量時穩定、不易積塵、精度較高、互換性好。